您当前的浏览器版本过低,请您升级浏览器
为了更好的使用优志愿产品,点击下载

谷歌浏览器

360极速浏览器

360安全浏览器

QQ浏览器

火狐浏览器

全国服务热线:400-181-5008
祝广大考生金榜题名
开通VIP

收藏

分享

津门工科头牌高校 工科类专业极具就业竞争力

| 来源:天津工业大学 1996

  天津工业大学是教育部与天津市共建、天津市重点建设的全日制普通高等学校。学校办学历史悠久,最早的学科始建于1912年,1958年开始独立办学,原名河北纺织工学院,1968年更名为天津纺织工学院,2000年更名为天津工业大学,2017年入选国家“双一流”世界一流学科建设高校,2018年获批国防科工局与天津市共建高校,深度融入军民融合发展战略,是我国最早开展纺织高等教育的学府之一,现已发展成为一所以工为主,工、理、文、管、经、法、艺、医协调发展的多科性工业大学。

  学校现有65个本科专业,其中包括25个国家级一流专业建设点、6个国家级特色专业、6个市级一流专业建设点、15个天津市品牌专业、6个天津市战略性新兴产业相关专业、8个天津市优势特色专业、12个应用型专业,4个专业通过工程教育专业认证。学校拥有1个国家重点学科、12个天津市重点学科,1个学科入选国家“双一流”学科,5个学科入选天津市一流学科,5个学科入选天津市高校顶尖学科培育计划,建有5个天津市特色学科群、2个天津市服务产业特色学科群;学校拥有3个博士后流动站、6个博士学位授权点(一级学科博士学位授权点5个,博士专业学位授权类别1个),拥有26个一级学科硕士学位授权点和11个硕士专业学位授权类别;纺织科学与工程学科在全国第四轮学科评估中获得A+;4个学科进入ESI全球前1%。

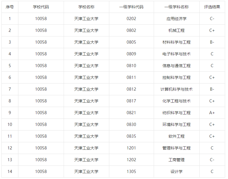
  天津工业大学全国第四轮学科评估结果:

企业微信截图_20220807132707.png

  天津工业大学2022年招生录取原则:

  专业录取按“分数优先、遵循志愿、专业志愿不设分数级差”原则,即对同一投档单位的进档考生,先按投档成绩从高分到低分排队,并按排队顺序,从高分到低分依次按照考生填报的专业志愿顺序录取。

  在非高考改革省(区、市),当同一投档单位、同一专业(不包括艺术类)考生的投档成绩相同时,按专业志愿顺序排序录取;如专业志愿顺序相同,再根据不同科类:理工类考生依次比较数学、语文、理科综合成绩进行录取;文史类考生依次比较语文、数学、文科综合成绩进行专业录取。

  对于实施高考综合改革的北京、天津、河北等省(区、市)的招生录取工作,录取时按照各省(区、市)公布的改革方案及有关办法执行;高考综合改革省(区、市)的考生须满足我校选考科目要求;投档成绩相同时,按各省(区、市)确定的同分排序规则进行专业录取。

  考生在填所报专业志愿均未满足情况下,对服从专业调剂者,调到同一投档单位未录满专业;对不服从专业调剂者,作退档处理。


评论
说点什么吧
发布

手机扫一扫下载APP

400-181-5008

优志愿将竭力为您提供帮助

(免长话费 )

教APP备3100148号