您当前的浏览器版本过低,请您升级浏览器
为了更好的使用优志愿产品,点击下载

谷歌浏览器

360极速浏览器

360安全浏览器

QQ浏览器

火狐浏览器

全国服务热线:400-181-5008
祝广大考生金榜题名
开通VIP

收藏

分享

甘肃重点师范院校,实力强劲-西北师范大学

| 来源:西北师范大学 1966

  西北师范大学为甘肃省人民政府和教育部共同建设的重点大学。其前身为国立北平师范大学,发端于1902年建立的京师大学堂师范馆,1912年改为“国立北京高等师范学校”,1923年改为“国立北平师范大学”。1958年前学校为教育部直属的全国6所重点高师院校之一,1958年划归甘肃省领导,改称甘肃师范大学。1981年复名为西北师范学院。1988年定名为西北师范大学。2020年被列为甘肃省人民政府支持进入国家一流大学建设行列的省属高校。

  学科建设

  学校是国务院首批确定具有学士、硕士、博士三级学位授予权的单位。现有教育学化学、中国语言文学、中国史、数学、物理学、地理学心理学、生物学、美术学马克思主义理论等11个一级学科博士点,教育博士1个专业博士授权类别;30个一级学科硕士点,1个二级学科硕士点(不含一级学科覆盖点),19个专业硕士授权类别。有2个国家重点(培育)学科、11个省级一流学科、36个省级重点学科。化学、材料科学、工程学进入ESI全球排名前1%。9个学科在全国第四轮学科评估中进入B类等次。

  师资力量

  学校现有教职工2537人,正高级职称人员362人,副高级职称人员828人,具有博士学位人员822人,具有硕士学位人员915人。其中专任教师1650人,教授(研究员)323人,副教授(副研究员)635人。博士生导师182人(含校外兼职导师29人),硕士生导师1506人(含校外兼职导师654人)。国家级人才称号获得者及项目入选69人次,省级人才称号获得者及项目入选204人次。学校聘请了200余位国内外知名的专家、学者为特聘或兼职教授。

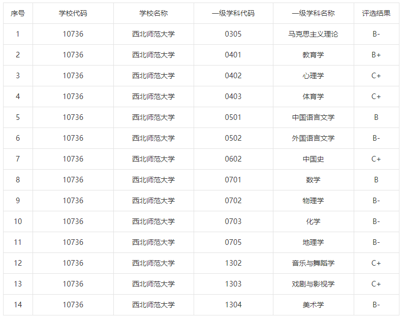
  西北师范大学全国第四轮学科评估结果:

企业微信截图_20220828134650.png

  2022年西北师范大学普通本科招生录取:

  学校根据各省(自治区、直辖市)生源情况和招生计划确定投档比例。实行平行志愿方式投档的省(自治区、直辖市)、批次,投档比例原则控制在招生计划数的100%-105%,若平行志愿投档生源不足,按照省级招生考试机构的统一安排征集志愿;对于实行非平行志愿的省份、批次,投档比例原则控制在招生计划的120%以内,学校优先录取第一志愿报考的考生,在第一志愿生源不足的情况下,可录取非第一志愿考生,如符合条件的非第一志愿考生生源仍不足,按照省级招生考试机构的统一安排征集志愿。如征集志愿仍不能完成计划,将按照招生计划管理规定对计划进行调整。

  学校对考生体检的要求按照教育部、卫生部、中国残疾人联合会制定的《普通高等学校体检工作指导意见》执行。

  学校部分专业按学科大类进行招生。对于按大类招生录取到含有多个专业的考生,在其入校进行通识教育和学科基础教育之后,结合个人志愿、学业成绩等在学院内部进行专业分流培养。

  学校普通文理类专业按照投档成绩从高分到低分择优录取,对于进档考生,不设置专业级差,专业志愿分配按照“分数优先,遵循志愿”的原则进行(如考生投档成绩相同,则按总分、语文、数学、外语成绩依次排序确定)。当普通文理类专业考生成绩无法满足考生所填报的专业志愿时,如果考生服从专业调剂,学校根据考生投档成绩从高分到低分调剂到招生计划尚未完成的专业(以专业组为投档单位进行招生录取的省份须在组内专业进行调整);如果考生不服从专业调剂,则作退档处理。

  内蒙古自治区普通类专业按照“招生计划1:1范围内按专业志愿排队录取”的规则进行录取。


评论
说点什么吧
发布

手机扫一扫下载APP

400-181-5008

优志愿将竭力为您提供帮助

(免长话费 )

教APP备3100148号