重庆师范大学位于中国直辖市重庆,国家“中西部高校基础能力建设工程”实施高校,入选首批“卓越农林人才教育培养计划、卓越教师培养计划”,“马云乡村师范生计划”首批合作院校,全国毕业生就业典型经验高校,重庆市一流学科建设高校,是一所以教师教育为特色、多学科协调发展的综合性师范大学。
师资力量
师道尊严,彬彬济济。在职教职工2100余人,其中正高职称和博士1000余人,博士生导师和硕士生导师1000余人。有国际系统与控制科学院院士、国家海外高层次人才引进计划人选、国家“万人计划”人选、“新世纪百千万人才工程”国家级人选、国家级有突出贡献的中青年专家、全国杰出专业技术人才、全国文化名家暨“四个一批”理论人才、国家“优青”、教育部科技委数理学部委员、“中国青年科技奖”获得者、享受国务院政府特殊津贴专家、“海外杰青”获得者、中国科学院“百人计划”人选等国家级专门人才30人次。有教育部重点人才工程人选、重庆市重点人才工程人选240余人次。
学科建设
学校学科建设体系完备,一级学科覆盖哲学、法学、经济学、教育学、文学、理学等11个学科门类,拥有博士学位授权一级学科3个,硕士学位授权一级学科25个,二级学科1个,硕士专业学位授权点14个。现有17个二级学院,74个本科专业。拥有2个重庆市一流学科,18个市级十四五重点学科,2个“人工智能+”市级学科群;有数学与信息科学、文博与艺术文化、生命科学与绿色生态、智能材料与新能源、区域经济与产业发展、教师教育等6大优势学科群。
国家级特色专业:数学与应用数学、旅游管理
国家级“专业综合改革试点”项目:汉语言文学
国家级“卓越农林人才教育培养计划项目”:食品质量与安全
重庆市“专业综合改革试点”项目:数学与应用数学、特殊教育
重庆市“三特行动计划”特色专业:汉语言文学、数学与应用数学、学前教育、生物科学、广播电视编导、特殊教育 、小学教育、生物技术、信息与计算科学
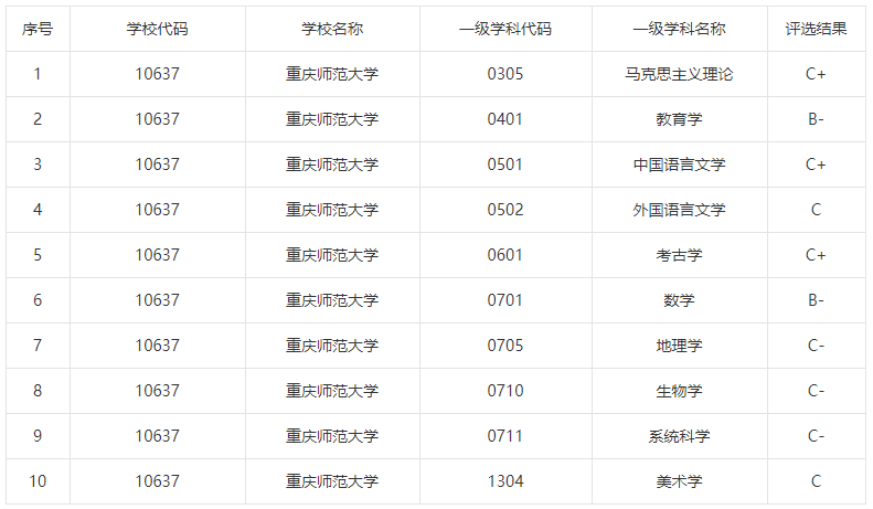
重庆师范大学全国第四轮学科评估结果

合作交流
学校坚持开放办学,是中国政府奖学金、国际中文教师奖学金和重庆市人民政府外国留学生市长奖学金的接收学校、重庆市中外人文交流特色高校。已与俄罗斯、美国、澳大利亚、英国等30多个国家和地区的教育机构建立友好合作关系,开展中外联合培养、合作科研、师生互访等各种形式的合作与交流。孔子学院实现五大洲布局,3次获“孔子学院先进中方合作机构”殊荣。在卢旺达、斯里兰卡、英国、美国、巴布亚新几内亚和印度尼西亚等国举办5所孔子学院和1所汉语师范学院,建有教育部备案的3个国别(区域)研究中心。
录取规则
学校按照“分数优先、遵循志愿”的原则(内蒙古自治区除外)确定考生专业。优先满足有专业志愿的考生,未录满的计划用于服从调剂且满足专业录取条件的考生。
(一)普通类专业进档考生录取规则
1.在平行志愿投档的批次,投档分相同时,使用省级平行志愿批次同分排序规则进行比较。
2.在顺序志愿投档的批次,投档分相同时,依次比较语文、数学、外语、综合(或三门选考科目总分)成绩。
(二)艺术类专业进档考生录取规则
1.考生高考文化成绩、专业成绩须达到各省(自治区、直辖市)划定的相关专业本科录取控制分数线。书法学在重庆认可四川美术学院校考成绩,航空服务艺术与管理在山东认可山东师范大学组织的联考成绩,其余艺术类专业均认可当地招生考试部门组织的相关专业统考或联考成绩。