济南大学是山东省人民政府和教育部共建的综合性大学、山东省重点建设大学、山东省高水平大学“冲一流”建设高校,具有学士、硕士、博士学位授予权。
教师团队
学校现有专任教师2182人,其中教授357人,副教授799人,具有博士学位的1231人。现有全职院士4人,双聘院士6人,国家杰出青年科学基金获得者、国家万人计划、国务院学位委员会学科评议组成员、教育部教学指导委员会委员、国家优秀青年科学基金获得者、教育部新世纪优秀人才等国家级高层次人才36人,泰山学者攀登专家1人、泰山学者特聘教授3人、海外特聘专家5人、泰山学者特聘专家8人、泰山学者青年专家14人,国家和省部级有突出贡献专家23人,享受国务院政府特殊津贴专家23人。全国优秀教师、山东省优秀教师7人,国家级、省级教学名师17人,国家级、省级教学团队7个。
学科建设
学校建有3个博士后科研流动站、5个一级学科博士学位授权点、24个一级学科硕士学位授权点、22个硕士专业学位培养类别。有山东省高峰学科1个、省优势特色学科3个、省一流建设学科5个、省重点学科14个、省文化艺术重点学科3个、省一流培育学科1个、省高水平培育学科1个,6个学科进入ESI全球排名前1%,9个学科进入软科世界一流学科排行榜。建有包括省部共建协同创新中心、教育部工程研究中心、国家“高等学校学科创新引智计划”(“111计划”)引智基地、教育部国别与区域研究中心、国家专利导航项目研究和推广中心、省级协同创新中心、省级重点实验室、省级工程实验室、省级工程技术研究中心、省级人文社科研究基地等在内的省部级以上研究平台58个。
国家级特色专业:机械制造及自动化、应用化学、计算机科学与工程、材料科学与工程
山东省一流学科立项建设学科:化学、材料科学、临床医学、工程学
山东重点学科:应用化学、材料学、眼科学、计算机应用技术、机械制造及其自动化、控制理论与控制工程、管理科学与工程、中国古代文学、水文学及水资源、社会学、国民经济学、肿瘤学、微生物与生化药学、机械电子工程
山东省文化艺术重点学科:文化产业管理学、音乐与舞蹈学、设计学
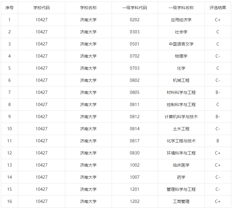
济南大学全国第四轮学科评估结果

合作交流
学校坚持开放式办学理念,积极扩大与海外教育机构的合作与交流,通过学者互访、学术交流、合作办学等多种方式与美、英、德、法、加、澳、俄、日、韩、新等国家和地区的120余所高校建立了校际合作关系。学校为教育部来华留学质量认证通过高校,国家留学基金委“创新型人才国际合作培养项目”立项实施单位;在金融学、机械工程、网络工程、环境工程4个专业举办中外合作办学项目,并与国外多所大学合作举办双学位、交换生、本硕连读、博士联培等多种形式的校际合作培育及出国留学项目,培养具有国际化视野的高素质人才。