湘潭大学位于湖南省湘潭市,是毛泽东同志亲自倡办的综合性全国重点大学、国家“双一流”建设高校,是湖南省政府与教育部、与国家国防科技工业局共建高校, 教育部与湖南省重点共建的综合性大学,是国内为数不多同时进入THE、USNEWS等权威国际大学排行榜的地方高校之一。
作为一所具有较高学术水平和社会声誉的全国重点大学,在多个方面展现出了其独特的优势和综合实力。虽然它并未入选国家211工程重点建设高校的行列,但院校在各个学科领域都有着深厚的研究基础和丰富的学术资源。
(企业商用).jpg?photoId=65de9917b9c2077fefe6d215)
湘大在学科建设方面取得了显著的成绩,拥有涵盖文、史、哲、理、工、经、管、法、艺等9大门类的学科体系。特别是数学学科作为世界一流建设学科,显示了学校在基础学科领域的卓越实力。此外,化学、材料科学、工程学、数学、计算机科学等5个学科的ESI排名进入全球大学和科研机构前1%,这证明了湘潭大学在科学研究和学术水平上的国际竞争力。
学校的研究生院和23个学院、教学部为学生提供了丰富多样的学术选择和发展路径。同时,16个博士后科研流动站为高层次人才的培养和科研创新提供了有力支持。湘大还拥有41个国家级一流本科专业建设点和15个省级一流本科专业建设点,反映了学校在教学质量和专业建设方面的卓越成就。
国家级重点学科和国家一流培育学科的建设,进一步巩固了湘潭大学在国内的学术地位。同时,13个湖南省“十四五”重点学科为地方经济和社会发展提供了强有力的学科支撑。
学校更是拥有多个国家级和省级教育教学平台,如教育部基础学科拔尖学生培养计划2.0基地、国家首批卓越法律人才教育培养基地等。这些平台的建立,不仅提升了学校的教学水平和科研实力,也为学生提供了更多的实践机会和创新平台。此外,学校还是“国家大学生创新性实验计划”实施单位、国家“英才计划”实施单位等,这些计划的实施为学生提供了更多的创新创业机会和成长空间。
建校以来,湘潭大学累计培养了近31万毕业生,这些毕业生在各个领域都取得了卓越的成就。他们中的许多人成为了各行各业的领军人物和优秀骨干,为国家建设和社会进步作出了重要贡献。
作为长株潭都市圈的核心城市,湘潭市不仅地理位置优越,紧邻省会长沙,而且经济发达,是湖南省的主要经济城市之一,这种区位优势对于湘潭大学的发展起到了积极的促进作用。
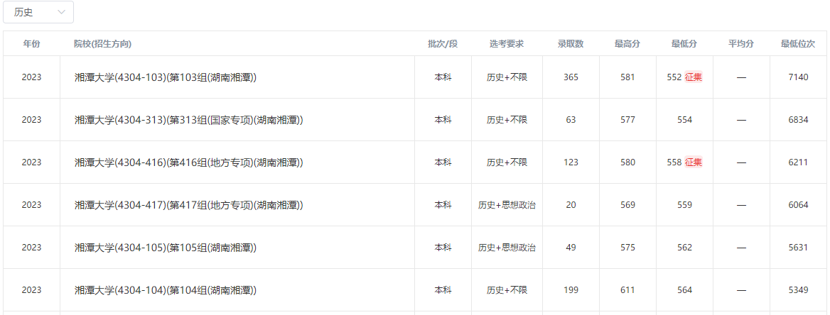
2023年湘潭大学在本省录取分数线:

