(一)我省2026年高职院校分类考试招生志愿填报时间为2026年3月23日09:00至3月27日18:00,逾时网上志愿填报系统将自动关闭。
(二)凡参加高职分类考试招生报名,符合报考资格的“高中类”、“中职类”(不含五年一贯制、“3+3”、“3+4”中高本贯通)、“专项类”考生须登录贵州省招生考试院网站,根据“资料下载”栏目公布的《贵州省2026年高职院校分类考试招生专业目录》进行志愿填报。考生未按填报说明和招生章程要求填报导致志愿无效的后果自负。
(三)考生应认真细致填报志愿,核对准确后提交。在系统未关闭前,考生若发现志愿填报有误,可以进行修改,但修改不能超过2次,系统以考生最后一次提交的志愿为准。
(一)系统登录
1.系统登录
通过电脑浏览器访问贵州省普通高校招生考试考生综合信息平台http://gkks.eaagz.org.cn,进入登录首页。如下图所示:输入考生号/证件号,在登录页面中选择“密码登录”或“短信登录”。

2.密码修改
若考生遗忘登录密码,可通过华为应用市场、苹果appstore或腾讯应用宝下载安装最新版本“贵州招考”移动端APP进行密码修改。
打开“贵州招考”,通过人脸识别或短信验证码进行登录(短信验证码登录须绑定手机号)。成功登录后,如未绑定手机号,可通过手机右下角【我的】→【安全设置】→【绑定手机号】功能,绑定手机号。通过手机右下角【我的】→【安全设置】→【修改密码】功能,修改登录密码。

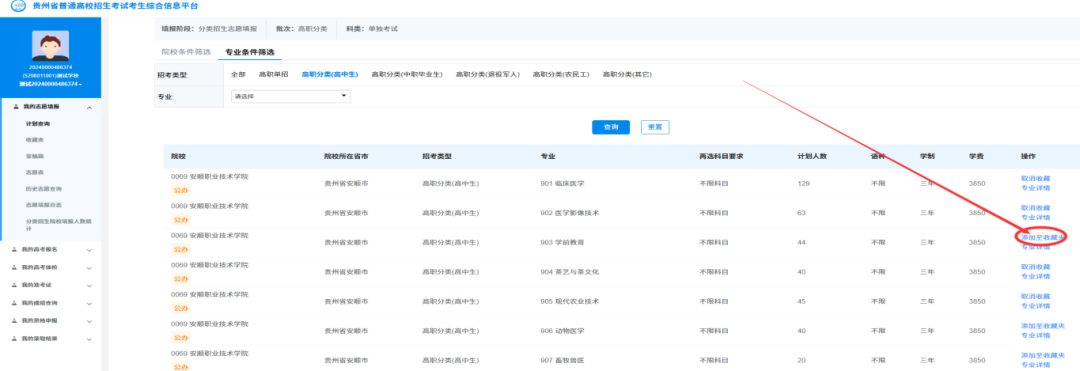
(二)计划查询登录系统后,通过系统左侧的【我的志愿填报】→【计划查询】,查询可填报的院校专业计划。

通过“院校条件筛选”和“专业条件筛选”筛选院校专业信息。不同考试类型的考生只能查询到对应招考类型下的招生计划,“高中类”考生可查询“高职单招”或“高职分类(高中生)”。
注:“院校条件筛选”和“专业条件筛选”为联动查询,筛选院校后再筛选专业,查询结果为筛选院校的对应专业。可点击“重置”按钮清空已选条件。


考生可将感兴趣的院校专业添加至“收藏夹”进行收藏。

考生可点击【我的志愿填报】→【分类招生志愿填报人数统计】,查看各院校招生计划人数、填报人数及比例,可通过设置筛选条件查看某一院校的填报数据。

(四)志愿填报
分类招生志愿填报只能填报1个院校志愿,该院校志愿下最多可选择6个专业。在填报时须先在草稿箱中填报志愿草稿,志愿草稿核对无误后,须提交至志愿表完成志愿填报。具体步骤如下:
1.添加志愿草稿
方式1:从收藏夹中添加志愿草稿。通过系统左侧的【我的志愿填报】→【草稿箱】→【从收藏夹批量添加】,可从收藏夹添加同一院校多个专业,选择好专业后须点击【保存草稿】。



方式2:通过【新增】添加志愿草稿。考生可通过左侧的【我的志愿填报】→【草稿箱】→【编辑】→【新增】添加志愿草稿。





2.编辑志愿草稿
(1)志愿草稿预览
在草稿箱中添加志愿后,考生可通过【草稿箱】→【预览】功能,查看自己的“考生志愿草稿表”。

(2)志愿草稿编辑
通过【草稿箱】→【编辑】功能,可编辑志愿草稿,可进行专业顺序调整和确认是否服从调剂,点击“提交”完成编辑。




(3)志愿草稿删除
如草稿已存在1个院校志愿,则不能添加其他院校志愿。如需添加其他院校志愿,须先清空原有院校志愿。

3.正式提交志愿表
考生确认所填写志愿草稿准确无误后,须点击【草稿箱】→【提交至志愿表】,输入登录密码进行确认,确保提交成功后志愿方可生效。


4.志愿表浏览
考生提交志愿草稿成功后,须点击【志愿表】→【志愿表预览】,查看和确认所填报的院校专业志愿是否提交成功。

5.志愿表修改
考生如需修改已提交志愿,可通过【志愿表】→【退回草稿编辑】,将已提交志愿退回至草稿箱,此时系统会提示已提交志愿表次数和剩余可提交次数。


已提交志愿退回至草稿箱后,可在【草稿箱】中对志愿再次进行编辑,编辑结束后须再次进行提交。考生在志愿填报期间,最多可提交3次志愿,在填报时间截止后,所填报志愿不能进行任何修改。
考生可通过苹果appstore、腾讯应用宝、华为应用商店搜索下载安装最新版【贵州招考】APP,并开启【相机】和【存储】权限。


1.2登录APP考生在手机上打开【贵州招考】APP,输入本人考生号或证件号或手机号,选择【我已阅读并同意《隐私政策》】,系统默认登录方式为【密码登录】,考生可点击下方【换个方式登录】,选择【短信验证码登录】或【刷脸登录】。

1.3修改密码若考生遗忘系统登录密码,可选择【刷脸登录】或【短信验证码登录】方式登录后,通过手机右下角【我的】→【安全设置】→【密码修改】功能,修改登录密码。


2.计划查询选择【服务】→【我的志愿填报】→【计划查询】,查询可填报的院校专业计划。


考生进入计划查询界面后,点击页面上方【搜索】框,进入院校/专业筛选查询页面。


考生如想收藏某院校专业,可通过点击院校名称后⭐️进行收藏。
3.院校填报情况浏览考生可通过【分类招生志愿填报人数统计】查看各院校分类招生计划人数、填报人数、比例数。点击【服务】→【我的志愿填报】→【分类招生志愿填报人数统计】查看院校填报数据。

4.志愿填报分类招生志愿填报只能填报1个院校志愿,该院校志愿下最多可选择6个专业。在填报时须先在草稿箱中填报志愿草稿,志愿草稿核对无误后,须提交至志愿表完成志愿填报。具体步骤如下:4.1添加志愿草稿方式1:通过【服务】→【我的志愿填报】→【草稿箱】进入草稿箱页面,在页面上点击【可填/草稿箱】,选择【从收藏夹添加】。


选择对应院校的【添加】按钮,勾选专业,选择是否服从调剂,再点击【完成】,提示新增成功。

点击【已选/可选专业】,点击屏幕右上方【选择】,通过滑动屏幕,可选择多个专业,下方选中的专业会自动排列到已选专业的后面,在屏幕下方会提示已选和可选专业的数量,选择好后点击上方的【完成】,点击【保存草稿】完成志愿草稿的添加。


方式2:通过【服务】→【我的志愿填报】→【草稿箱】进入草稿箱页面,在页面上点击【可填/草稿箱】,选择【新增志愿】。

在院校栏选择院校后点击【确定】按钮,进入专业选择。通过滑动屏幕,可选择多个专业,下方选中的专业会自动排列到页面的最上端,在屏幕下方会提示已选和可选专业的数量,选择好后点击上方的【完成】,点击【保存草稿】完成志愿草稿的添加。

4.2编辑志愿草稿选择【草稿箱】,点击【可填/草稿箱】,点击屏幕上【已选/可选专业】,点击屏幕右上方【选择】。在是否服从调剂栏可选择【服从】或【不服从】,通过选择或取消对应专业的勾选状态,可选择或取消相应专业。通过屏幕右侧的已选中专业的【上移】或【下移】,可对专业进行排序。下方选中的专业会自动排列到已选专业的后面,在屏幕下方会提示已选和可选专业的数量,选择好后点击上方的【完成】,点击【保存草稿】完成志愿草稿的编辑。





4.3删除志愿草稿如草稿箱中已存在1个院校志愿,则不能添加其他院校志愿。如需添加其他院校志愿,可选择【草稿箱】,点击【可填/草稿箱】,点击【清空草稿】,选择【确认】可删除草稿志愿。



4.4正式提交志愿表考生确认所填写志愿草稿准确无误后,点击【服务】→【草稿箱】进入页面后,点击【提交至志愿表】,输入登录密码进行确认,确保提交成功后志愿方可生效。

4.5志愿表预览考生提交志愿草稿成功后,须点击【服务】→【志愿表】→【预览】,查看和确认所填报的院校专业志愿是否提交成功。

4.6志愿表修改考生如需修改已提交志愿,可通过【服务】→【志愿表】→【退回草稿箱编辑】,将已提交志愿退回至草稿箱,此时系统会提示已提交志愿表次数和剩余可提交次数。


已提交志愿退回至草稿箱后,可在【草稿箱】中对志愿再次进行编辑,编辑结束后须再次进行提交。考生在志愿填报期间,最多可提交3次志愿,在填报时间截止后,所填报志愿不能进行任何修改。


编辑|路智策
校对|成 静赵 耀
审核|王丽萍喻冰清
高招云直播